BT30  M type

 BT30M  BT30M

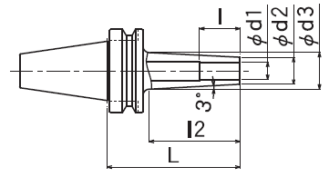
BT30-TG□□M-□□    Φ6~Φ12    テーパ角 3.0°

型式Type Φd1 角度 先端肉厚 L 対応刃物 Φd2 Φd3 l2 φd5 l l1 l4 l5 冷却アダプタ
 BT30-TG6M-60 6 3 3 60 Carbide 12 15.7 35.2 21 36以上 T3-K/4C6M
 BT30-TG6M-80       80     17.8 55.2            
 BT30-TG6M-120       120     19.9 95.2            
 BT30-TG8M-60 8     60   14 17.7 35.2   25 48以上     T3-K/8M
 BT30-TG8M-80       80     19.7 55.2            
 BT30-TG8M-120       120     21.9 95.2            
 BT30-TG10M-60 10     60   16 19.7 35.2   31 50以上     T3-K/10M
 BT30-TG10M-80       80     21.7 55.2            
 BT30-TG10M-120       120     23.9 95.2            
 BT30-TG12M4-60 12   4 60   20 23.7 35.2   34 60以上     T3-K/12M4
 BT30-TG10M4-80       80     25.7 55.2            
 BT30-TG10M4-120       120     27.9 95.2            
備考
  1. 二面拘束仕様(型式:ABT30-**)も製作します。 詳細はお問い合わせください。